На рынке технологий ценны не столько сами разработки, сколько патенты на них. Почти каждый день компаниями-гигантами и малоизвестными игроками индустрии подаются бесчисленные заявки на новые изобретения. "Цифровая Москва" выбрала самые интересные проекты, некоторые из которых удивляют своей футуристичностью, в то время как другие – незатейливостью.

Фото: ТАСС/Сергей Фадеичев
Корпорация Apple, известная в мире технологий как законодатель моды в гаджетах, обратила внимание на еще более персональные вещи, чем мобильный телефон или компьютер. Эти вещи есть у каждого, и до последнего времени ни кому в голову не приходило как-то их усовершенствовать. Речь идет о футболках и пакетах.
Смарт-футболка
Похоже, от создания мод высоких технологий Apple решила перейти к модам более приземленным. Корпорация открывает новое направление деятельности – создание смарт-одежды. Apple уверена, что в ближайшем будущем "умная" одежда станет таким же обыденным явлением, как мобильные телефоны сегодня.
Пока речь идет о технологичной футболке, заявку на которую Apple уже зарегистрировала в Патентном бюро. Документ сопровождается иллюстрацией черной футболки с размещенным на груди прямоугольным цветным дисплеем (который, судя по всему, будет гибким).

Фото: Stringer/Zuma
Сообщается, что в комплекте с футболкой будет работать некий браслет, но о принципах взаимодействия высокотехнологичной одежды с данным аксессуаром пока ничего не известно. Назначение дисплея на футболке компания также не поясняет. Остается надеяться, что цена на такую футболку будет скромнее, чем на гаджеты Apple.
Пакет. Просто пакет
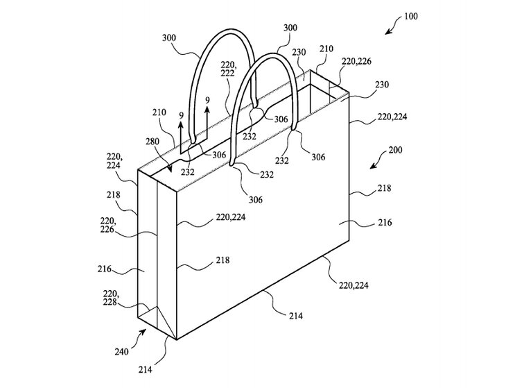
Если целесообразность футболки с дисплеем еще как-то можно объяснить, то решение компании Apple заняться выпуском бумажных пакетов пока вызывает лишь вопросы. Патентная заявка на данное "изобретение" уже подана компанией. Судя по описанию пакета, нам не приходится надеяться на то, что Apple данным продуктом перевернет игру на рынке приспособлений для переноски предметов - это обыкновенный бумажный пакет с ручками.

Фото: pdfaiw.uspto.gov
Единственная особенность разработки, как заявляют в компании, состоит в том, что доля перерабатываемых материалов в составе пакета достигает 60 процентов, в то время как привычные нам пакеты уступают в этом направлении пакету Apple – в них переработке подвергается лишь 50 процентов составного вещества.
Низкотехнологичные патенты Samsung
Корейская компания Samsung, судя по всему, поспешила занять пока свободную от своего американского конкурента нишу упаковки товаров и подала заявку на патент изогнутой картонной коробки.
Опубликованные на сайте бюро по патентам и товарным знакам США материалы не раскрывают никакой технической информации о новом продукте компании, однако из описания можно понять, что это, скорее всего, настолько же высокотехнологичное изобретение, как и пакет от Apple. Samsung намеревается использовать коробку для хранения и транспортировки изогнутых телевизоров собственного производства.

Фото: pdfaiw.uspto.gov
Помимо коробки Samsung запатентовала еще три десятка изобретений, среди которых есть держатель для бокала, крепящийся к холодильнику, и щетка для пылесоса.
Высокотехнологичные патенты Samsung
Гибкий планшет
Среди одобренных патентным ведомством США трех десятков патентов Samsung больше всего внимания привлек к себе планшет с гибким экраном. Патент относится к категории "промышленный образец" или, как их еще называют, патентов на дизайн. Ожидается, что устройство начнет выпускаться с 2019 года.

Фото: pdfaiw.uspto.gov
Сопровождающие документ иллюстрации дают некоторое представление о принципах работы складной "таблетки". Планшет будет способен не просто выдержать давление на излом, а в прямом смысле складываться пополам как лист бумаги - это достигается за счет конструкции, включающей две связанные между собой гибким соединением секции. В утолщении одной из них, скорее всего, будет размещаться вся аппаратная начинка устройства и интерфейсные разъемы.
На тыльной стороне планшета есть раскладывающаяся опора, позволяющая зафиксировать устройство в вертикальном положении.
Супергидрофобное стекло
Также Samsung запатентовала водоотталкивающее стекло, охарактеризованное разработчиком как "супергидрофобное" – такие стекла компания планирует использовать в будущих моделях своих мобильных устройств.
Сообщается, что новое стекло обладает углом ската воды в 155 градусов – именно при таком угле наклона поверхности на стекле не останется ни одной капли. Слетев вниз, вода заберет с собой и все частицы пыли. Учитывая эту способность и снижение количества бликов, данное изобретение станет полезным в любом сенсорном устройстве.
Дрон-слуга
Американский торговый гигант Amazon запатентовал крошечный квадрокоптер-помощник. Размеры беспилотника настолько малы, что он с легкостью может поместиться на специальной взлетной площадке, закрепленной на плече владельца, не доставляя ему никаких неудобств. Кроме того, этот малыш будет намного умнее своих крупных собратьев – он будет выполнять голосовые команды и выполнять неопределенно широкий круг задач - от поиска ребенка в торговом центре или автомобиля на парковке до обнаружения пожаров или помощи полицейским.

Фото: pdfaiw.uspto.gov
Малые размеры изобретения позволяют предположить, что микрофон для общения с дроном и его вычислительный модуль будут размещаться вне самого устройства, скорее всего для этих целей будет использоваться смартфон владельца.
Солнечная черепица
Российская компания "Инноватикс" получила патент на черепицу со встроенными солнечными батареями. Один сегмент подобного кровельного фотоэлемента имеет мощность в 6, 8 или 10 Вт. В Анапе уже открыто производство такой солнечной черепицы. Кровля из солнечных батарей обеспечивается функцией водяной самоотчистки, что защищает ее от снега и грязи. Снег подмывается горячей водой, а грязь смывается холодной.
Производитель намеревается получить еще один патент на черепицу со встроенным фотоэлементом, который будет способен на ряду с генерацией электроэнергии вырабатывать энергию для подогрева водопроводной воды.
Главным преимуществом российского изобретения является его стоимость – черепица в 3-4 раза дешевле аналогов зарубежных производителей.
Рентгеновское зрение
Японская Honda запатентовала систему "рентгеновского зрения" для водителей, состоящую из нескольких принципиально новых систем. Первая система с помощью сенсоров распознает пешеходов, находящихся в "слепых зонах" или вне поля зрения водителя, и выводит полученные данные на проекционный дисплей, который позволит водителю предвидеть дальнейшие варианты развития ситуации на дороге.

Фото: pdfaiw.uspto.gov
Вторая схема будет координировать действия водителей сразу трех автомобилей, двигающихся в ряд друг за другом.
Первый автомобиль будет передавать находящемуся посередине данные о дистанции между ними и скорости их движения, а этот автомобиль, в свою очередь, перешлет данные замыкающему, на проекционном экране которого водитель третьего автомобиля сможет увидеть первый автомобиль сквозь тот, что находится между ними и в случае непредвиденной ситуации вовремя среагировать.
Наталья Чунина








Собянин: волонтерский центр "Доброе место" открылся в районе Куркино




























